
Vilebrequin de course adapté à tous les modèles de cyclomoteurs Piaggio (Ciao, Si, Bravo, Boxer, Grillo)
.Ce vilebrequin tuning finement équilibré, avec bielle et joues polies, convient à tous les cylindres avec axe de piston de 12 mm et convainc par sa finition de haute qualité.
En raison des temps de commande d'admission plus longs, cet arbre de tuning convient parfaitement aux mobylettes de course.
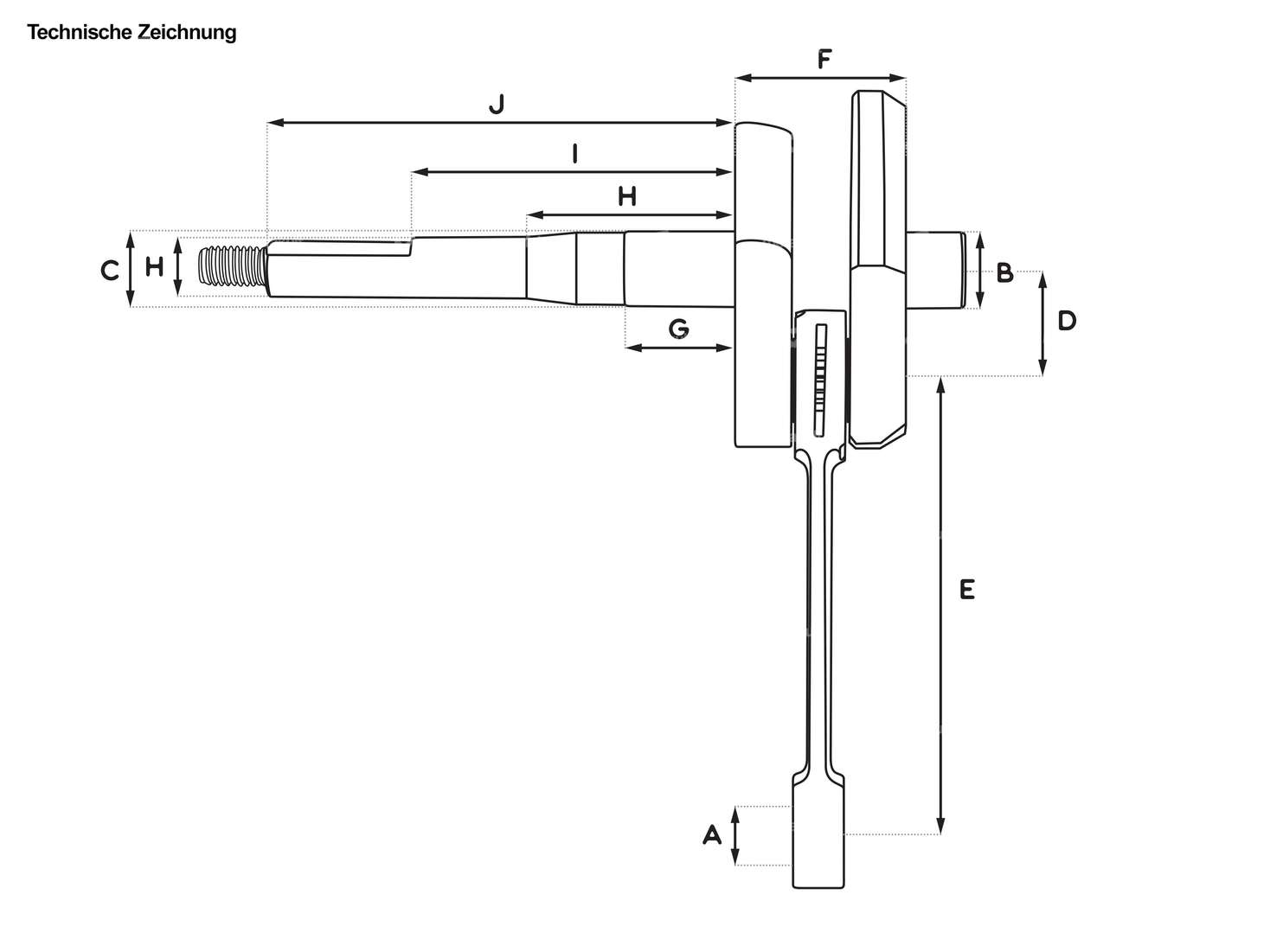
Oeil de bielle (A) : 15.0 mm
Ø ; siège de palier côté droit (B) : 15.0 mm
Ø ; siège de palier côté opposé (C) : 15.0 mm
Course (2xD) : 43.0 mm
Longueur de la manivelle (E) : 87.0 mm
Largeur des manivelles (F) : 32.5 mm
1er talon (G) : 21.0 mm
2ème talon (H) : 44.0 mm
3ème talon (I) : 63.0 mm
Longueur totale des manetons côté opposé (J) : 91.5 mm
Longueur totale du pivot de manivelle côté opposé, filetage inclus : 105 mm
Ø ; Vario / pivot d'embrayage (H) : 12.0 mm
Dimension du roulement à aiguilles : Ø ; 12 / 15 x 14.7 mm (axe 12)
Filetage : M8 x 1.25 mm
Pour le montage, il n'est pas nécessaire d'insérer une rondelle d'ajustage entre le vilebrequin racing et ses paliers principaux.
Mauvaise qualité ! &ndash ; Nous nous efforçons de te proposer la plus grande gamme de pièces détachées pour cyclomoteurs. Cependant, ce produit est de qualité plutôt médiocre et nous ne le recommandons pas. Si ton choix se porte malgré tout sur cet article, nous pouvons te comprendre, mais nous ne t'accordons aucune garantie ou échange.
Produit de qualité du fabricant italien Pinasco
.| Longueur du filetage | 13.5 mm |
| Fabricant | Pinasco |
| Champ d'application | Racing |
| Matériau | Acier |
| Type de joue | standard |
| Type de filetage | M8x1.25 (filetage standard) |
| Course du vilebrequin | 43 mm |
| Ø pivot d’accouplement/pivot vario | 12 mm |
| Longueur de bielle centre-centre | 87 mm |
| Longueur totale du maneton côté allumage | 91.5 mm, 105 mm |
| Ø des joues de manivelle | 69.7 mm |
| Ø œil de bielle | 15 mm |
| Siège de palier droit | 15 mm |
| Ø de l’axe du piston (B) | 12 mm |
| Ø siège du palier (côté allumage) | 15 mm |
| Dimension du roulement à aiguilles | 12 / 15 x 14.7 mm (axe 12) |
| Largeur des joues de manivelle | 32.5 mm |
| Longueur 1er paragraphe | 21 mm |
| Longueur 2e paragraphe | 44 mm |
| Longueur 3e alinéa | 63 mm |
| Ø 1er épaulement (côté accouplement) | 15 mm |
| Ø 2e alinéa (côté accouplement) | 14.4 mm |
| Ø 3e alinéa (côté accouplement) | 12 mm |
| Temps de commande d’admission | 146 ° |
| Temps de commande avant O.T | 88 ° |
| Temps de commande selon O.T | 58 ° |
| Poids | 712 g |
| Nombre de vitesses | 1 pcs |
| Piaggio | Ciao - P, SC, PX, C24 Si Bravo / Super Bravo Boxer Grillo |
Accessories & Related Products
swiing® ingenious Roulements à aiguilles 12/15/16.2 "Racing" Cage en argent
Cage de roulement: Cage d'argent · Fabricant: swiing® pièces ingénieuses · Type de palier: Couronne de roulement à aiguilles · Largeur: 16.2 mm · Ø extérieur: 15 mm · Ø intérieur: 12 mm · Dimension du roulement à aiguilles: 12/15 x 16.2 · Tomos numéro OEM: 035548
EUR 16.60
Pas en stock
swiing® ingenious Extracteur de volant d'inertie | Piaggio Ciao, SI, Bravo, Boxer
Clé de tirage: 10 mm · Clé de tirage: 17 mm · Ouverture de clé Vis: 19 mm · Fabricant: swiing® pièces ingénieuses · Matériau: Acier · Surface: galvanisé bleu · Surface: noirci · Type de filetage: MF12x1.5 (filetage fin) · Type de filetage: MF17x1 (filetage fin) · Diamètre: 12 mm · Diamètre: 24 mm · Longueur totale: 100 mm · Nombre de composants: 2 pcs · Champ d'application: Outil de (dé)montage
EUR 21.40
Joint d'arbre NBR 15/24/5 AS
Résistance à la température (min.): -30 - 100 °C · Type de bague à lèvres: AS - Avec enveloppe extérieure caoutchoutée, une lèvre d'étanchéité et une lèvre anti-poussière. · Matériau: NBR · Surface: caoutchouté · Ø intérieur: 15 mm · Ø extérieur: 24 mm · Largeur: 5 mm
EUR 5.85
Pinasco 6202 T9 C4 Roulements à billes 15/35/11 Cage polyamide paire
Cage de roulement: Cage en plastique guidée par des billes · Fabricant: Pinasco · Jeu de palier: C4 · Matériau: Acier · Matériau: Polyamide (PA) · Numéro de stock: 6202 · Type de palier: roulements rainurés à billes · Ø intérieur: 15 mm · Ø extérieur: 35 mm · Largeur: 11 mm · Roulement à billes fermé: Non · Champ d'application: Tuning
EUR 71.60
Les fans de mobylette aussi acheté
Filtre à air Malossi | Piaggio Ciao, SI, Bravo, Boxer
Fabricant: Malossi · Matériau: Plastique · Ø extérieur: 53.2 mm · Type de filtre: Mousse · Longueur totale: 31.2 mm · Couleur: noir · Ø raccordement intérieur: 51 mm · Type de fixation: Connexion enfichable serrée · Camouflé: Non · Champ d'application: Tuning · Largeur: 95 mm · Hauteur: 88.7 mm
EUR 23.80
Malossi 43 mm kit cylindre 12 mm KoBo nouvelle version | Piaggio Ciao, SI, Boxer, Bravo
Diamètre nominal: 43 mm · Fabricant: Malossi · Matériau: Fonte grise · Surface: sablé · Cylindrée: 63 ccm · Course du vilebrequin: 43 mm · Ø du col du cylindre: 45.6 mm · Ø sortie extérieure: 22.4 mm · Ø intérieur de la sortie: 18.3 mm · Champ d'application: Tuning · Nombre de points de fixation: 3 pcs · Ø de l’axe du piston (B): 12 mm · Type de sortie: pincé · Schéma des trous [mm]: 55 x 34 · Décompresseur: Oui · Camouflé: Non
EUR 173.10
Carburateur Dell'Orto 13/13 SHA | Piaggio SI, Boss, Grillo
Diamètre nominal: 13 mm · Fabricant: Dell'Orto · Matériau: Aluminium · Groupe de composants carburateur: Carburateur complet · Couleur: noir · Type de carburateur: SHA (Piaggio) · Longueur totale: 55 mm · Largeur: 60 mm · Hauteur: 118 mm · Type de fixation: Connexion enfichable serrée · Ø sans douille de réduction: 18 mm · Ø entrée intérieure: 13 mm · Ø raccordement intérieur: 16 mm · Ø sortie intérieur: 13 mm · Ø raccordement filtre à air: 50.8 mm · Ø du raccord du tuyau d'essence: 5.2 mm · Ø du raccord du tuyau d'essence: 6 mm · Commande de starter: Handchoke · Filetage de la buse: M5x0.8 (filetage standard) · Camouflé: Non · Taille de la buse: 66 · Champ d'application: Tuning
EUR 83.50
swiing® revival set de goujons M7x120 mm cylindre | Piaggio Ciao, SI, Bravo, Boxer
Fabricant: swiing® revival parts · Matériau: Acier · Surface: galvanisé bleu · Type de filetage: M7x1 (filetage standard) · Diamètre: 6.2 mm · Clé de serrage: 11 mm · Longueur totale: 120 mm · Entraînement: Six pans extérieurs · Longueur du filetage: 25 mm · Classe de résistance: 8 · Classe de résistance: 8.8
EUR 14.00









