
Racingkurbelwelle für das Originalgehäuse passend zu deinem Piaggio Ciao, Si, Bravo, Boxer, Grillo Mofa / Moped.
Diese feingewuchtete Kurbelwelle passt zu sämtlichen Zylindern mit 10 mm Kolbenbolzen und überzeugt durch ihre hochwertige Verarbeitung.
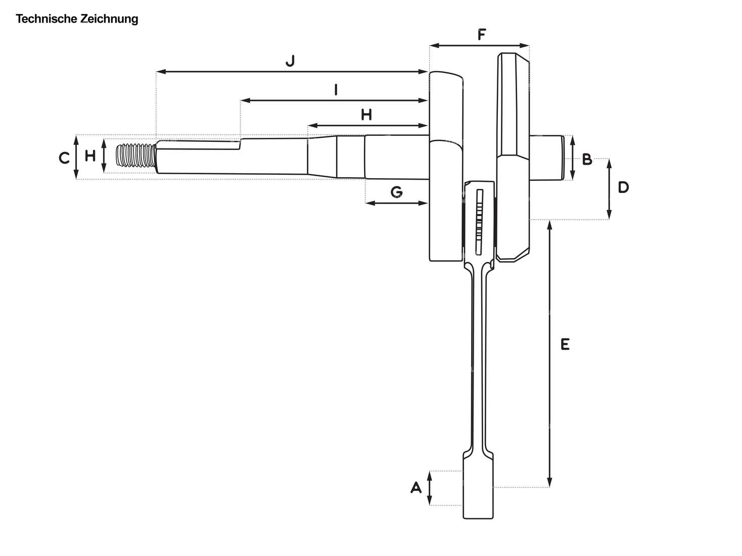
Pleuelauge (A): 13.0 mm
Ø Lagersitz rechts (B): 15.0 mm
Ø Lagersitz Zündseite (C): 15.0 mm
Hub (2xD): 43.0 mm
Pleuellänge (E): 87.0 mm
Breite Kurbelwangen (F): 32.5 mm
1. Absatz (G): 21.7 mm
2. Absatz (H): 44.0 mm
3. Absatz (I): 63.4 mm
Gesamtlänge Kurbelzapfen Zündseite (J): 91.5 mm
Ø Vario / Kupplungszapfen (H): 12.0 mm
Dimension Nadellager: Ø 10 / 13 x 14 mm (axe 10)
Gewinde: M10 x 1.25 mm
Hinweis: Für die Montage muss zwischen der Standardkurbelwelle und dessen Hauptlagern je eine 16 x 0.5 mm Passscheibe eingelegt werden.
Damit die RHQ Tuningwelle in das originale Motorgehäuse verbaut werden kann, muss dieses ein wenig bearbeitet werden. Zusätzlich muss die vordere Vario- oder Monokupplung angepasst werden.
Neben einem neuen Halbmondkeil, dem Pleuellager und der flachen Sechskantmutter ist im Lieferumfang auch eine Anleitung enthalten, um die Modifikationen durchführen zu können.
Die entsprechenden Distanzscheiben sowie weitere Anbauteile findest du bei den Zubehörartikeln.
Qualitätsprodukt des italienischen Herstellers Malossi.
| Gewicht | 730 g |
| Hersteller | Malossi |
| Material | Stahl |
| Wangenart | standard |
| Pleuellänge Mitte-Mitte | 87 mm |
| Kurbelwellenhub | 43 mm |
| Ø Kupplungszapfen / Variozapfen | 12 mm |
| Anwendungsbereich | Tuning |
| Gesamtlänge Kurbelzapfen zündseitig | 91.5 mm |
| Ø Kurbelwangen | 70 mm |
| Gewindelänge | 14 mm |
| Ø Pleuelauge | 13 mm |
| Lagersitz rechts | 15 mm |
| Ø Kolbenbolzen (B) | 10 mm |
| Ø Lagersitz (zündungsseitig) | 15 mm |
| Dimension Nadellager | 10 / 13 x 14 (axe 10) |
| Gewindeart | MF10x1.25 (Feingewinde) |
| Breite Kurbelwangen | 32.5 mm |
| Länge 1. Absatz | 21.7 mm |
| Länge 2. Absatz | 44 mm |
| Länge 3. Absatz | 63.4 mm |
| Ø 1. Absatz (kupplungsseitig) | 15 mm |
| Ø 2. Absatz (kupplungsseitig) | 14.4 mm |
| Ø 3. Absatz (kupplungsseitig) | 12 mm |
| Anzahl Gänge | 1 Stk. |
| Piaggio | Ciao - P , SC , PX , C24 Si Bravo / Super Bravo Boxer Grillo Gilera CBA Gilera Citta |
Zubehör & Verwandtes
swiing® ingenious Abzieher Schwungrad | Piaggio Ciao, SI, Bravo, Boxer
Gesamtlänge: 100 mm · Schlüsselweite Abzug: 10 mm · Schlüsselweite Abzug: 17 mm · Hersteller: swiing® ingenious parts · Gewindeart: MF12x1.5 (Feingewinde) · Gewindeart: MF17x1 (Feingewinde) · Durchmesser: 12 mm · Durchmesser: 24 mm · Material: Stahl · Oberfläche: geschwärzt · Oberfläche: verzinkt (blau) · Anzahl Bestandteile: 3 Stk. · Anwendungsbereich: (De-) Montagewerkzeug · Schlüsselweite Schraube: 19 mm
EUR 21.20
EUR 18.90
Mazzucchelli Kurbelwelle «original» 10 mm KoBo | Piaggio Ciao, SI, Bravo, Boxer
Dimension Nadellager: 10 / 13 x 14.2 mm (axe 10) · Hersteller: Mazzucchelli · Material: Stahl · Wangenart: standard · Anwendungsbereich: Original · Anwendungsbereich: Standard · Gewindeart: M8x1.25 (Standardgewinde) · Ø Kupplungszapfen / Variozapfen: 12 mm · Kurbelwellenhub: 43 mm · Pleuellänge Mitte-Mitte: 87 mm · Gesamtlänge Kurbelzapfen zündseitig: 90 mm · Gesamtlänge Kurbelzapfen zündseitig: 106 mm · Ø Kurbelwangen: 69.7 mm · Ø Pleuelauge: 13 mm · Gewindelänge: 16 mm · Lagersitz rechts: 15 mm · Ø Kolbenbolzen (B): 10 mm · Ø Lagersitz (zündungsseitig): 15 mm · Breite Kurbelwangen: 33 mm · Länge 1. Absatz: 21 mm · Länge 2. Absatz: 44 mm · Länge 3. Absatz: 63.5 mm · Ø 1. Absatz (kupplungsseitig): 15 mm · Ø 2. Absatz (kupplungsseitig): 14.4 mm · Ø 3. Absatz (kupplungsseitig): 12 mm · Einlasssteuerzeit: 130 ° · Steuerzeit vor O.T: 77 ° · Steuerzeit nach O.T: 53 ° · Gewicht: 695 g · Anzahl Gänge: 1 Stk.
EUR 177.90
Mofa-Fans kauften auch
Polini Racing 43 mm Zylinderkit inkl. Kopf 10 mm KoBo | Piaggio Ciao, Bravo, Boxer
Nenndurchmesser: 43 mm · Hersteller: Polini · Material: Grauguss · Getarnt: Nein · Hubraum: 63 ccm · Anwendungsbereich: Tuning · Oberfläche: sandgestrahlt · Kurbelwellenhub: 43 mm · Ø Zylinderhals: 45.7 mm · Ø Auslass aussen: 22.4 mm · Ø Auslass innen: 18.1 mm · Anzahl Befestigungspunkte: 3 Stk. · Ø Kolbenbolzen (B): 10 mm · Auslassart: geklemmt · Lochbild [mm]: 55 x 34 · Dekompressor: Ja
EUR 284.60





